A Rail Construction Technique For Attaching Double Off Set Corner Posts
Here is a deck rail construction technique you should familiarize yourself with so you are able to deal with the different situations you will confront in terms of framing.
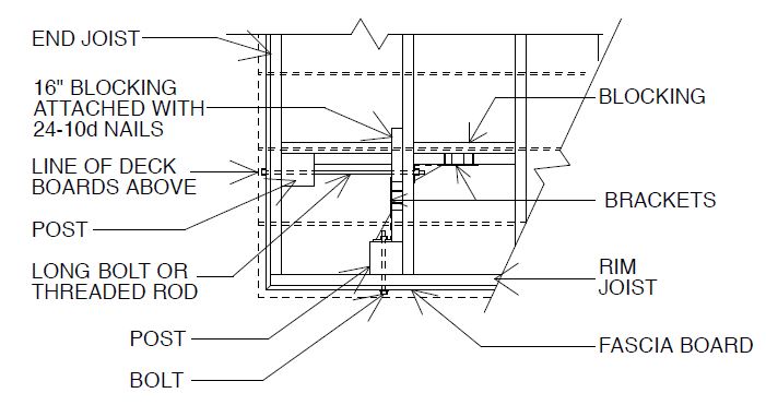
This is a common situation on a deck corner that employs a less common railing post construction method where two posts are installed near the corner but offset from each other.
Double corner posts or paired posts as they are sometimes called are not common. That is because it doubles the material cost and it poses some building tricks and challenges when it comes to building the rest of the railing.
If this is your situation here are some helpful building tips and the hardware you will need.
Click Image For Larger View

Constructing your railing in this manner is less common but you do see it occasionally.
It's not that common because it makes for a more complicated corner for the adjacent railing to connect together. You can image that the vertical plane of the railing is actually located beyond the edge of the deck.

Many people however find this method of building deck railing is quite tricky to build and install all this hardware, or notch the decking boards around each post.
The other issue for some is the vulnerability of the wood posts to moisture damage over the years because of direct wood on wood contact.
You can also see that the labor involved and all the hardware makes the cost rise quickly.
But there are other railing construction methods that will give you a high quality and beautiful looking railing.
Take for example this low profile internal wood railing post anchor shown here.
At less than twenty bucks, it can be used in code compliant residential rail applications when installed according to the manufacuturer's engineering guidelines.
This is a potential solution for new wood deck railings, replacing rotted railing posts, or as support posts for pergolas, gazebos, decks, etc.
Then watch this video of a surface mount wood post anchor that has been tested for use with wood deck railings and costs less than $20 with all the hardware you will ever need and it covers all the possible situations described above.
So there you have it.
A thorough explanation of building traditional wood railing for decks and alternative solutions for great looking deck railing. You decide which is right for your specific project.
Find out more about this innovative post anchoring solution.
Home > Deck Railings > Wood Post Railing Building Tips > Railing Construction Technique